品牌:
零件号:
机型:
名    称:

当前位置: > 首页 >  产品购买 > 其他配件

板,右侧

0

累计评论

0

交易成功

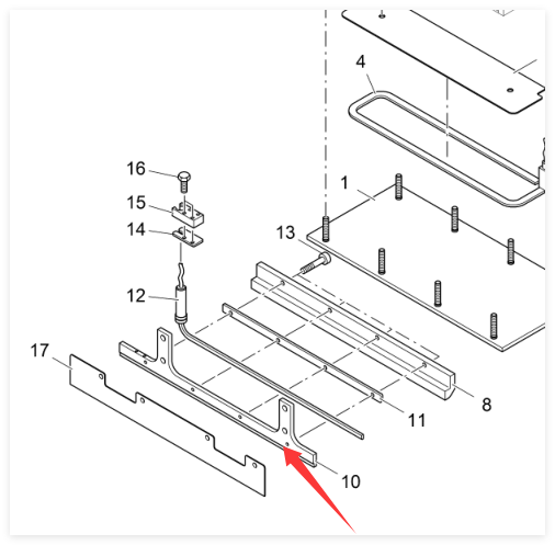
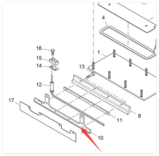
零件号: 2030855
配件编码:HFWC
产品品牌:VOGELE(福格勒)
适配机型:福格勒摊铺机
别名: 右侧夯锤吊架
属性: 配套
数量

(库存:)

看了又看

右侧夯锤吊架